Scara KRAUSE de acces / evacuare / incendiu, otel zincat, 10,92 m
Scara KRAUSE de acces / evacuare / incendiu, otel zincat, 10,92 m
Cod: KR-836007
|
|
KRAUSE-Werk GmbH & Co. KG, Alsfeld, Germany |
Pret de lista: 18.620,16 LEI
Pret fara TVA: 15.388,57 LEI
Descriere
Scara exterioara din otel zincat pentru acces, evacuare sau incendiu.
Corespunde DIN 14094-1 - utilizare si de catre persoane fara cunostiinte/experienta in domeniu
Prevazuta cu cos de protectie din 8 cercuri si 19 contrafise verticale pentru a impiedica caderea pe spate si o platforma intermediara.
Inaltimea totala a scarii trebuie sa depaseasca cu minim 1,1m inaltimea cornisei
Cosul de protectie trebuie montat incepand de la o inaltime de maxim 3m fata de sol
Daca inaltimea de urcare dorita (de montare) a scarii este mai mica decat cea de livrare, scara se scurteaza la partea inferioara direct la montaj.
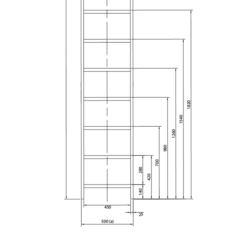
Latime interioara: 450mm
Latime exterioara: 500mm
Scara de mai sus este echipata cu prinderile de perete standard, de 20cm fata de fatada(structura de rezistenta). Daca dvs aveti panouri tip sandwich/izolatie, trebuie alese alte prinderi reglabile pe adancime, astfel incat prinderile sa treaca prin acestea pana la structura de rezistenta iar distanta intre scara si fatada sa ramana tot de 20cm. (Exemplu: De la structura de rezistenta exista izolatie: 200mm + 200 mm spatiu de la fatada izolatiei pana la scara = 400mm - prinderea trebuie sa fie cea reglabila pe adancime intre 270 si 400mm)
Specificatii
Inaltime scara: 12.02 m
Material: Otel zincat
Conform DIN: 14094-1 - scari de evacuare de incendiu
Traversa de iesire: 2 buc
Element scara 1.96m: 1 buc
Element scara 2.80m: 4 buc
Conector elemente scara : 6 buc
Sistem rigid de fixare la perete(max. 200mm): 18 buc
Inel (cerc) de protectie contra caderii: 8 buc
Contrafise verticale: 19 buc
Inel (cerc) 3/4 de protectie contra caderii: 4 buc
Platforma intermediara: 1 buc
Conectori pentru inelele duble de protectie: 2 buc
Observatii
Scara trebuie montata la o distanta de minim 150mm de perete pentru a putea aseza in siguranta piciorul pe trepte.
Daca distanta intre cornisa si scara depaseste 75mm conform normelor DIN 14094-1 trebuie montata o treapta sau platforma suplimentara
Cod comanda: KR-836007
Preț: 18.620,16 LEI
Pret fara TVA: 15.388,57 LEI
- Intreaba stoc
Scara exterioara din otel zincat pentru acces, evacuare sau incendiu.
Corespunde DIN 14094-1 - utilizare si de catre persoane fara cunostiinte/experienta in domeniu
Prevazuta cu cos de protectie din 8 cercuri si 19 contrafise verticale pentru a impiedica caderea pe spate si o platforma intermediara.
Inaltimea totala a scarii trebuie sa depaseasca cu minim 1,1m inaltimea cornisei
Cosul de protectie trebuie montat incepand de la o inaltime de maxim 3m fata de sol
Daca inaltimea de urcare dorita (de montare) a scarii este mai mica decat cea de livrare, scara se scurteaza la partea inferioara direct la montaj.
Latime interioara: 450mm
Latime exterioara: 500mm
Scara de mai sus este echipata cu prinderile de perete standard, de 20cm fata de fatada(structura de rezistenta). Daca dvs aveti panouri tip sandwich/izolatie, trebuie alese alte prinderi reglabile pe adancime, astfel incat prinderile sa treaca prin acestea pana la structura de rezistenta iar distanta intre scara si fatada sa ramana tot de 20cm. (Exemplu: De la structura de rezistenta exista izolatie: 200mm + 200 mm spatiu de la fatada izolatiei pana la scara = 400mm - prinderea trebuie sa fie cea reglabila pe adancime intre 270 si 400mm)
-
Prindere fixa 200mm pentru scara de acces, evacuare, incendiu din otel zincat sau aluminiu x 18 buc
Cod: KR-835239
-
Conector pentru 2 inele (cerc) 3/4 de protectie contra caderii pentru scara de acces, evacuare, incendiu, otel zincat x 2 buc
Cod: KR-835413
-
Inel (cerc) de protectie contra caderii pentru scara de acces, evacuare, incendiu, otel zincat, Ø 700 mm x 8 buc
Cod: KR-835420
-
Inel (cerc) 3/4 de protectie contra caderii pentru scara de acces, evacuare, incendiu, otel zincat, Ø 700 mm x 4 buc
Cod: KR-835437
-
Podest intermediar pentru scara de acces, evacuare, incendiu din otel zincat x 1 buc
Cod: KR-835444
-
Conector tronsoane scara de acces, evacuare, incendiu, otel zincat x 6 buc
Cod: KR-835529
-
Tronson scara de acces, evacuare, incendiu, 1.96m, otel zincat x 1 buc
Cod: KR-835536
-
Tronson scara de acces, evacuare, incendiu, 2.80m, otel zincat x 4 buc
Cod: KR-835543
-
Contrafise verticale pentru inelele (cercurile) de protectie pentru scara de acces, evacuare, incendiu, otel zincat, 3000 mm x 19 buc
Cod: KR-835567
-
Maner iesire pentru scara de acces, evacuare, incendiu din otel zincat, 1 bucata x 2 buc
Cod: KR-835772
Inaltime urcare: 10.92 m
Inaltime scara: 12.02 m
Material: Otel zincat
Conform DIN: 14094-1 - scari de evacuare de incendiu
Traversa de iesire: 2 buc
Element scara 1.96m: 1 buc
Element scara 2.80m: 4 buc
Conector elemente scara : 6 buc
Sistem rigid de fixare la perete(max. 200mm): 18 buc
Inel (cerc) de protectie contra caderii: 8 buc
Contrafise verticale: 19 buc
Inel (cerc) 3/4 de protectie contra caderii: 4 buc
Platforma intermediara: 1 buc
Conectori pentru inelele duble de protectie: 2 buc
Scara trebuie montata la o distanta de minim 150mm de perete pentru a putea aseza in siguranta piciorul pe trepte.
Daca distanta intre cornisa si scara depaseste 75mm conform normelor DIN 14094-1 trebuie montata o treapta sau platforma suplimentara
-
Prindere reglabila pe adancime 150-200mm pentru scara de acces, evacuare, incendiu din otel zincat sau aluminiu
Preț: 246,95 LEI
Pret fara TVA: 204,09 LEI
Cod: KR-835208
- In stoc
-
Prindere reglabila pe adancime 200-270mm pentru scara de acces, evacuare, incendiu din otel zincat sau aluminiu
Preț: 256,87 LEI
Pret fara TVA: 212,29 LEI
Cod: KR-835215
- In stoc
-
Prindere reglabila pe adancime 270-400mm pentru scara de acces, evacuare, incendiu din otel zincat sau aluminiu
Preț: 284,95 LEI
Pret fara TVA: 235,50 LEI
Cod: KR-835222
- In stoc
-
Prindere fixa 200mm pentru scara de acces, evacuare, incendiu din otel zincat sau aluminiu
Preț: 97,00 LEI
Pret fara TVA: 80,16 LEI
Cod: KR-835239
- In stoc
-
Prindere reglabila pe adancime 189-253mm pentru scara de acces, evacuare, incendiu din otel zincat sau aluminiu
Preț: 210,93 LEI
Pret fara TVA: 174,32 LEI
Cod: KR-835246
- In stoc
-
Treapta iesire de pe scara de acces, evacuare, incendiu din otel zincat sau aluminiu, 150 mm
Preț: 1.047,18 LEI
Pret fara TVA: 865,44 LEI
Cod: KR-836267
- Intreaba stoc
-
Treapta iesire de pe scara de acces, evacuare, incendiu din otel zincat sau aluminiu, 200 mm
Preț: 1.284,09 LEI
Pret fara TVA: 1.061,23 LEI
Cod: KR-836274
- Intreaba stoc
-
Treapta iesire de pe scara de acces, evacuare, incendiu din otel zincat sau aluminiu, 250 mm
Preț: 1.342,78 LEI
Pret fara TVA: 1.109,74 LEI
Cod: KR-836281
- Intreaba stoc
-
Treapta iesire de pe scara de acces, evacuare, incendiu din otel zincat sau aluminiu, 300 mm
Preț: 1.508,32 LEI
Pret fara TVA: 1.246,55 LEI
Cod: KR-836298
- Intreaba stoc
-
Podest de trecere peste atic pentru scara de acces, evacuare, incendiu din otel zincat, 450 mm
Preț: 3.258,97 LEI
Pret fara TVA: 2.693,37 LEI
Cod: KR-836304
- Intreaba stoc
-
Podest de trecere peste atic pentru scara de acces, evacuare, incendiu din otel zincat, 750 mm
Preț: 4.419,47 LEI
Pret fara TVA: 3.652,45 LEI
Cod: KR-836311
- Stoc limitat
-
Podest de trecere peste atic pentru scara de acces, evacuare, incendiu din otel zincat, 900 mm
Preț: 5.266,50 LEI
Pret fara TVA: 4.352,48 LEI
Cod: KR-836328
- Intreaba stoc
-
Podest de trecere peste atic pentru scara de acces, evacuare, incendiu din otel zincat, 1300 mm
Preț: 7.145,98 LEI
Pret fara TVA: 5.905,77 LEI
Cod: KR-836373
- Stoc limitat
-
Podest de odihna pliabil pentru scara de acces, evacuare, incendiu din otel zincat sau aluminiu
Preț: 2.016,08 LEI
Pret fara TVA: 1.666,18 LEI
Cod: KR-837011
- Stoc limitat
-
Gratar de inchidere/blocare acces pentru scari de incendiu din otel zincat
Preț: 4.905,61 LEI
Pret fara TVA: 4.054,22 LEI
Cod: KR-837035
- Stoc limitat
-
Usa blocare acces sus pe scara de acces, evacuare, incendiu din otel zincat sau aluminiu
Preț: 2.461,95 LEI
Pret fara TVA: 2.034,67 LEI
Cod: KR-837059
- Intreaba stoc
-
Usa de blocare acces jos pentru scara de acces, evacuare, incendiu din otel zincat sau aluminiu
Preț: 3.450,25 LEI
Pret fara TVA: 2.851,45 LEI
Cod: KR-837578
- Intreaba stoc
Certificat de TIP
Nu exista review-uri, fi primul care lasa un review…